Pour les bikepackers et les cyclistes d’aventure, chaque gramme et chaque détail comptent. Que vous partiez pour une randonnée de plusieurs jours, un raid en gravel ou une sortie technique en VTT, l’équipement doit être léger, robuste et polyvalent. Tailfin, leader en solutions de transport pour vélo, a révolutionné le domaine avec des produits modulaires, ultra-légers et incroyablement stables, conçus pour s’adapter à tous les terrains et à tous les besoins.
Découvrez comment Tailfin repousse les limites du possible avec des innovations qui transforment votre vélo en une machine d’aventure, sans compromis sur le confort, la stabilité ou la durabilité.

Porte-Bagages Révolutionnaire pour VTT et Bikepacking: Pannier Rack
Contexte et Problématiques Résolues
Les porte-bagages traditionnels pour vélos (ou pannier racks) posent plusieurs défis majeurs aux cyclistes, en particulier pour les VTTistes et les bikepackers :
- Compatibilité limitée :
- Les porte-bagages classiques nécessitent des points de fixation spécifiques sur le cadre (ex. : œillets sur les haubans ou les bases), souvent absents sur les vélos modernes (cadres en carbone, tout-suspendus).
- Les solutions universelles (ex. : colliers, U-bolts) sont lourdes, peu esthétiques et peuvent endommager les cadres en carbone si mal serrées.
- Montage complexe et peu pratique :
- La plupart des racks nécessitent des outils pour l’installation/démontage, ce qui les rend peu adaptés aux voyages ou aux changements fréquents de vélo.
- Les systèmes à fixation sur la tige de selle sont instables latéralement et limitent la capacité de charge (risque de dommage au cadre ou à la tige de selle).
- Manque de rigidité et de stabilité :
- Les racks en porte-à-faux (ex. : fixés uniquement sur la tige de selle) vibrent ou oscillent sur les terrains techniques, ce qui déséquilibre le vélo et réduit le confort.
- Les fixations sur l’axe de roue arrière (ex. : entretoises) peuvent stresser l’axe ou gêner le démontage de la roue.
- Incompatibilité avec les sacoches modernes :
- Les systèmes de fixation des sacoches (ex. : crochets) nécessitent souvent des barres horizontales rigides, limitant les options de design et de modularité.
- Les sacoches mal fixées bougent ou tournent pendant le pédalage, ce qui est dangereux et inconfortable.
L’Innovation : Un Porte-Bagages Modulaire, Sans Outils et Ultra-Rigide
Brevet: GB2542644A
Titre: Une structure porteuse de cycle
Demandeur: FRONT EDGE DESIGN LTD
Ce brevet propose une solution révolutionnaire avec un porte-bagages arrière (ou avant) modulaire, conçu pour :
- S’adapter à tous les vélos (même sans points de fixation dédiés) :
- Structure en forme de « O » modifié (ou boucle fermée) :
- Deux bras bifurqués se fixent sur l’axe de la roue arrière via un skewer (axe rapide) redessiné avec des protrusions latérales (6, 13).
- Un troisième point d’ancrage sur la tige de selle (via un strut télescopique ajustable) empêche la rotation autour de l’axe de roue.
- Aucun outil nécessaire :
- Mécanismes à verrouillage rapide pour une fixation/détachement en 1 seconde.
- Compatibilité universelle : Fonctionne sur tous les cadres (même ceux sans œillets), y compris les vélos en carbone ou tout-suspendus.
- Structure en forme de « O » modifié (ou boucle fermée) :

- Rigidité et stabilité inégalées :
- Forme en « O » fermé : La structure en boucle crée une rigidité naturelle, comme un cadre de vélo, sans dépendre des points de fixation du cadre.
- Répartition des forces :
- Les charges latérales et verticales sont absorbées par les bras bifurqués.
- Les forces avant/arrière (accélération/freinage) sont reprises par le strut télescopique sur la tige de selle.
- Aucune vibration ni mouvement parasite, même sur les sentiers techniques.
- Fixation des sacoches optimisée :
- Système de broches rigides (pins) :
- Les sacoches se fixent via des broches verrouillables (34) qui s’insèrent dans des trous traversants (7) sur les bras du rack.
- Verrouillage par billes et ressort : Empêche toute rotation ou désengagement accidentel.
- Compatibilité rétroactive :
- Un adaptateur en forme de barre horizontale permet d’utiliser des sacoches classiques (avec crochets) sur ce rack innovant.
- Système de broches rigides (pins) :

- Légereté et durabilité :
- Matériaux haut de gamme :
- Acier inoxydable pour les parties structurelles.
- Aluminium et composites pour les éléments ajustables (strut télescopique, leviers).
- Poids optimisé : Plus léger qu’un rack traditionnel en tresse métallique, tout en étant plus rigide et plus polyvalent.
- Matériaux haut de gamme :

Avantages Clés pour les Cyclistes
✅ Compatibilité universelle :
- Fonctionne sur tous les vélos (même ceux sans œillets de fixation), y compris les cadres en carbone et tout-suspendus.
- Montage/démontage en 1 seconde sans outil, idéal pour les voyages ou les changements de vélo.
✅ Rigidité et stabilité maximales :
- Structure en « O » fermé : Aucune vibration ni mouvement, même chargé à 16 kg sur des sentiers techniques.
- Répartition optimale des forces : Pas de stress sur le cadre ou la tige de selle.
✅ Modularité et polyvalence :
- Compatible avec tous les types de sacoches
- Strut télescopique ajustable : S’adapte à toutes les tailles de cadre et positions de tige de selle.
✅ Design innovant et léger :
- Pèse moins qu’un rack traditionnel tout en étant plus rigide.
- Esthétique épurée : Intégration discrète qui ne gâche pas le look du vélo.
✅ Durabilité et facilité d’entretien :
- Matériaux résistants à la corrosion (acier inoxydable, aluminium anodisé).
- Mécanismes sans usure (verrous à came, pivots renforcés).
Review par Bikepacking.com: https://bikepacking.com/gear/tailfin-speedpack-review/
Un Porte-Bagages Avant Révolutionnaire pour le Bikepacking : Stabilité et Polyvalence Sans Compromis
Contexte et Problématiques Résolues
Pour les bikepackers et les cyclistes d’aventure, transporter du matériel sur le vélo de manière sécurisée et stable est un défi majeur. Les solutions existantes présentent plusieurs limites :
- Glissement des sacs :
- Les systèmes de fixation traditionnels (sangles Velcro, colliers, clips) glissent vers le bas sous l’effet des vibrations et des chocs, surtout sur les fourches avant ou les tubes verticaux.
- Les sacs mal fixés peuvent frotter contre la roue, les pédales ou le cycliste, ce qui est dangereux et inconfortable.
- Usure et endommagement des sacs :
- Les supports avec des pieds de butée (pour empêcher le glissement) abîment les sacs par frottement répété, pouvant même les percer.
- Les fixations par vis ou inserts filetés nécessitent des modifications du cadre, incompatibles avec beaucoup de vélos modernes (ex. : fourches en carbone).
- Manque de modularité :
- Les sacs doivent souvent être spécifiquement conçus pour un type de support, limitant les options de personnalisation.
- Les systèmes de fixation peuvent gêner l’accès au contenu du sac ou compliquer son installation.
- Instabilité en tout-terrain :
- Sur les sentiers techniques, les sacs bougent ou tournent, ce qui déséquilibre le vélo et réduit le contrôle.
L’Innovation : Un Système de Fixation Anti-Glissement et Modulaire
Brevet: GB2617607A
Titre: A cargo carrier for attachment to a bicycle
Demandeur: TAILFIN LTD

Ce brevet propose une solution révolutionnaire pour fixer un sac (ou luggage pack) sur un tube de fourche avant ou tout autre tube vertical du vélo, en combinant :
- Un support en forme de cage :
- Structure légère et résistante (ex. : en métal ou composite), fixée au tube via des vis ou inserts filetés (si disponibles) ou des colliers universels.
- Multiples fentes (slots 12) pour ajuster la position des sangles selon la taille du sac.
- Des butées rigides intégrées au sac (abutments 20) :
- Deux éléments de retenue moulés (en TPU ou plastique rigide) sont fixés sur la face avant du sac.
- Chaque élément comprend :
- Une base (22) soudée ou collée au sac.
- Une partie saillante (26) avec une surface d’appui (28) pour bloquer la sangle.
- Une partie de retenue (30) en forme de crochet, qui enveloppe la sangle et l’empêche de glisser.
- Un ergot (34) à l’extrémité du crochet pour un verrouillage supplémentaire de la sangle.

- Des sangles ajustables et résistantes :
- Deux sangles (8) passent à travers les fentes du support et enveloppent le sac.
- Mécanisme de tension : Une fois serrées, les sangles compriment le sac contre le support, tandis que les butées (20) empêchent tout mouvement vertical ou latéral.
- Matériau élastique : Les sangles restent tendues même si le contenu du sac se tasse ou bouge.
- Compatibilité universelle :
- Fonctionne sur n’importe quel tube vertical (fourche avant, tube de selle, haubans).
- Pas besoin de modifications du cadre : Utilisable avec des colliers standard si le vélo n’a pas d’inserts filetés.
- Sac amovible en 1 seconde : Il suffit de desserrer les sangles pour le retirer.
Avantages Clés pour les Cyclistes
✅ Anti-glissement absolu :
- Les butées rigides et les sangles enveloppantes empêchent tout mouvement du sac, même sur les terrains les plus accidentés.
- Aucun frottement contre le sac : Les butées en TPU protègent la toile et évitent les usures prématurées.
✅ Installation et retrait ultra-rapides :
- Pas d’outils nécessaires : Il suffit de serrer/desserrer les sangles pour fixer ou retirer le sac.
- Positionnement ajustable : Les fentes permettent de régler la hauteur du sac pour éviter les conflits avec la roue ou le cycliste.
✅ Polyvalence et modularité :
- Compatible avec tous les types de sacs (étanches, souples, rigides) grâce aux butées universelles.
- S’adapte à tous les tubes (fourche, cadre, tige de selle) sans modification du vélo.
✅ Léger et discret :
- Support minimaliste (cage légère) + butées intégrées au sac = poids plume.
- Design épuré qui ne gâche pas l’esthétique du vélo.
✅ Durabilité et résistance :
- Matériaux robustes : TPU pour les butées, sangles élastiques résistantes à l’usure.
- Résiste aux intempéries : Conçu pour les conditions extrêmes (pluie, boue, chocs).
Support sur cintre modulable: Tailfin Bar Bag System
Contexte et Problématiques Résolues
Pour les bikepackers et les cyclistes en VTT, transporter du matériel sur le guidon est un défis majeur :
- Compatibilité limitée avec les différents guidons :
- Les guidons varient en forme, diamètre et courbure (droits, cintrés, larges), rendant les sacs classiques peu adaptables.
- Les sacs mal ajustés glissent, tournent ou gênent les commandes (freins, dérailleurs, compteurs).
- Déséquilibre et instabilité :
- Un sac mal centré ou trop volumineux déséquilibre le vélo, surtout sur les terrains techniques.
- Les sacs qui frottent contre la roue avant provoquent des bruits parasites et une usure prématurée.
- Accès difficile au contenu :
- Les sacs fixes limitent l’accès aux affaires (vêtements, nourriture, outils) sans arrêter de pédaler.
- Les systèmes de fixation complexes (sangles, crochets) prennent du temps à installer ou retirer.
- Manque de modularité :
- Les sacs classiques ne s’adaptent pas à la variation de volume du contenu (ex. : vêtement enlevé ou ajouté).
- Impossible d’ajouter des accessoires (GPS, lampe, téléphone) sans encombrer le guidon.
L’Innovation : Un Support de Sac de Guidon Réglable et Universel
Brevet: DE102025107208A1
Titre: Support sur cintre
Demandeur: TAILFIN LTD

Ce brevet propose un support modulable pour sac de guidon, conçu pour :
- S’adapter à tous les types de guidons :
- Deux bras ajustables (18) avec des ouvertures alignées (22) pour s’adapter aux guidons droits, cintrés ou larges.
- Revêtement interne en aluminium (34) dans les ouvertures pour un maintien anti-glisse et une protection du guidon.
- Réglage précis de la position du sac :
- Cage centrale (20) avec une épine dorsale (46) et des rails latéraux (48, 50) pour un maintien rigide du sac (14).
- Système de pivotement et de glissement :
- Les bras (18) glissent latéralement le long de la cage (20) via des fentes (56) et des verrous à cylindre (38).
- La cage pivote autour des bras pour ajuster l’angle du sac (vers l’avant ou vers le bas, FIGS. 5–6).

- Fixation rapide et sécurisée du sac :
- Crochets en TPU (68) sur le sac :
- Accrochage instantané sur le rail supérieur (48) de la cage pour un prémontage facile.
- Permet de libérer les mains pour serrer les sangles (60) sans tenir le sac.
- Sangles Voile Straps® (60) :
- Passent dans des fentes latérales (58) pour un maintien uniforme du sac, même en cas de variations de volume.
- Réglables en tension pour éviter tout mouvement parasite.
- Crochets en TPU (68) sur le sac :


- Compatibilité avec les accessoires :
- Fentes supplémentaires (62) sur le rail supérieur (48) pour fixer des accessoires (GPS, lampe, téléphone) via des supports dédiés (64).
- Matériaux légers et résistants :
- Cage en alliage métallique ou plastique rigide pour une structure légère et durable.
- Sac en nylon 420D étanche avec une couche de renfort en TPU (66) pour résister à l’abrasion.
2025 Bikepacking Gear of the Year

Avantages Clés pour les Cyclistes
✅ Universel et adaptable :
- Compatible avec tous les guidons (droits, cintrés, larges) grâce aux bras réglables et aux ouvertures ajustables.
- Aucun outil nécessaire : Montage/démontage en quelques secondes avec les verrous à cylindre et les sangles.
✅ Stabilité et équilibre optimisés :
- Positionnement précis du sac (centré, éloigné de la roue avant) pour éviter les frottements et déséquilibres.
- Cage rigide qui épouse la forme du sac pour un maintien sans jeu.
✅ Accès facile et modularité :
- Crochets pour un prémontage du sac en 1 seconde, même à une main.
- Sangles ajustables pour s’adapter aux variations de volume (vêtements, nourriture).
- Fentes pour accessoires : Fixation de GPS, lampes ou téléphones sans encombrer le guidon.
✅ Léger et durable :
- Poids plume grâce aux matériaux composites (alliage, nylon 420D, TPU).
- Résistant à l’eau et à l’abrasion : Idéal pour les conditions extrêmes (pluie, boue, sentiers techniques).
✅ Design ergonomique :
- Rails décalés pour éviter les conflits avec les commandes (freins, dérailleurs).
- Forme convexe de la cage pour un meilleur enveloppement du sac.
Sacoche de cadre innovant: Rigidité, Modularité et Confort Optimisés
Contexte et Problématiques Résolues
Pour les bikepackers et cyclistes d’aventure, transporter du matériel sur le cadre du vélo est un défis majeur :
- Sacoches souples peu rigides :
- Les sacs classiques en tissu souple se déforment quand ils sont trop remplis, ce qui peut frotter contre les jambes du cycliste ou entrer en contact avec les roues/pédales.
- Les sacs fixés sur des points d’ancrage espacés (ex. : tube supérieur) s’affaissent entre les attaches, ce qui est inesthétique et peu pratique.
- Manque de rigidité structurelle :
- Les sacs sans renfort perdent leur forme sous le poids, ce qui déséquilibre le vélo et réduit le confort.
- Les fermetures (zips, velcro) se tendent et s’usent rapidement si le sac est trop gonflé.
- Fixation complexe et peu sécurisée :
- Les systèmes de sangles traditionnels glissent ou se desserrent sur les terrains techniques.
- Les points de fixation (ex. : inserts filetés) ne sont pas toujours disponibles sur les cadres modernes (ex. : carbone, gravel).
- Accès difficile au contenu :
- Les ouvertures latérales peuvent être gênées par le cadre ou les jambes du cycliste.
- Les sacs sans renfort s’écrasent quand on essaie d’y accéder, ce qui complique l’organisation.
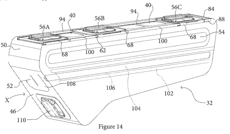
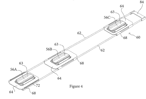
L’Innovation : Un Sac de Cadre avec Structure de Renfort Intégrée
Brevet: US2025121899A1
Titre: CARGO PACK FOR ATTACHMENT TO A BICYCLE
Demandeur: TAILFIN LTD

Ce brevet propose un sac de cadre révolutionnaire avec une structure de renfort interne modulable, conçue pour :
- Une rigidité optimale :
- Deux tiges en carbone (62) s’étendent sur toute la longueur du sac, le long de la paroi d’attache (40) (celle en contact avec le cadre).
- Blocs de montage (56) en TPU (thermoplastique polyuréthane) soudés à la paroi d’attache :
- Chaque bloc a un canal (68) pour recevoir une tige (62), avec un système d’encliquetage pour un montage/démontage rapide.
- Les tiges glissent dans les canaux ou s’y encliquettent selon le modèle de bloc (avant, milieu, arrière).


- Adaptabilité à tous les cadres :
- 3 blocs de montage (56A, 56B, 56C) :
- Bloc avant (56A) : Canaux fermés à l’avant (70) pour bloquer les tiges.
- Blocs milieu/arrière (56B, 56C) : Canaux ouverts aux extrémités (76, 74) pour un glissement des tiges.
- Éléments de guidage (94) :
- Passages latéraux (100) pour guider les tiges entre les blocs.
- Fixés par soudure RF à la paroi d’attache pour une intégration parfaite.
- 3 blocs de montage (56A, 56B, 56C) :
- Renforts latéraux anti-déformation :
- Poches latérales (102) avec battens en carbone (104) :
- Insérés dans des gaines le long des parois latérales (42) pour éviter que le sac ne gonfle.
- Forme profilée (sans angles vifs) pour un accès facile aux ouvertures latérales (54).
- Couche de mousse sur les battens pour protéger les doigts lors de l’accès au sac.
- Poches latérales (102) avec battens en carbone (104) :
- Ouvertures pratiques et sécurisées :
- Fermetures éclair latérales (54) :
- Accès facile au contenu sans gêner les jambes.
- Renforcées par les battens (104) pour éviter les déformations.
- Ouverture avant (108) :
- Passage pour câbles/tuyaux (ex. : lumière, hydratation) avec fermeture étanche.
- Fermetures éclair latérales (54) :
- Montage universel et sans outil :
- Pads en caoutchouc (67) sur les blocs de montage :
- Protègent le cadre des rayures et améliorent l’adhérence.
- Sangles ajustables:
- Passent dans les canaux des blocs pour une fixation sécurisée sur n’importe quel tube de cadre.
- Pads en caoutchouc (67) sur les blocs de montage :
Avantages Clés pour les Cyclistes
✅ Rigidité et stabilité inégalées :
- Structure en « sandwich » (tiges + blocs de montage) pour un maintien parfait du sac, même chargé.
- Aucune déformation : Le sac garde sa forme sur les terrains techniques ou après des jours d’utilisation.
✅ Adaptabilité universelle :
- Compatible avec tous les cadres (VTT, gravel, route) grâce aux blocs modulables et aux pads anti-rayures.
- Longueur ajustable : Les tiges peuvent être coupées sur mesure pour s’adapter à différents sacs.
✅ Accès facile et organisation optimisée :
- Ouvertures latérales avec renforts intégrés, pour un accès sans effort.
- Poches internes pour ranger les petits objets (outils, téléphone, nourriture).
✅ Léger et durable :
- Matériaux haut de gamme : Nylon 420D étanche + TPU rigide pour les blocs + carbone pour les tiges et battens.
- Résistant à l’eau et à l’abrasion : Idéal pour les conditions extrêmes (pluie, boue, sentiers techniques).
✅ Montage/démontage ultra-rapide :
Personnalisable : Ajoutez/supprimez des éléments de guidage ou des blocs selon la taille du sac.
Assemblage sans outil : Les tiges s’insèrent par l’ouverture avant et s’encliquettent dans les blocs.


Laisser un commentaire