Voyager léger, rouler loin, transporter intelligemment : voici les défis quotidiens des bikepackers. Aeroe, marque pionnière en solutions de transport pour vélo, révolutionne l’expérience cycliste avec une gamme d’accessoires modulaires, légers et ultra-stables, conçus pour s’adapter à tous les terrains et à tous les besoins. Que vous partiez pour une sortie à la journée, une aventure en bikepacking ou un trajet urbain, les innovations d’Aeroe transforment votre vélo en une machine polyvalente, équilibrée et prête pour l’aventure.

Pourquoi Aeroe change la donne ?
En bikepacking et en VTT, chaque gramme et chaque centimètre cube comptent. Les solutions traditionnelles (sacs à dos encombrants, porte-bagages lourds, fixations instables) limitent la liberté de mouvement, déséquilibrent le vélo et compliquent l’organisation. Aeroe répond à ces défis avec des produits pensés pour la performance, la modularité et la durabilité :
- Fixations ultra-rapides (systèmes QuickLock et Fidlock) pour un montage/démontage en 1 seconde.
- Designs légers et robustes (acier inoxydable, aluminium, nylon renforcé) pour une durabilité à toute épreuve.
- Compatibilité universelle avec tous les types de vélos (VTT, gravel, urbains) et d’équipements (sacs étanches, tentes, outils).
- Stabilité et silence garantis, même sur les terrains les plus techniques
Le brevet
- Publication: WO2019177469A1·2019-09-19
- Demandeurs: AEROE SPORTS LTD [NZ]
- Titre: SYSTÈME DE MONTAGE D’ACCESSOIRE POUR CYCLE ET DISPOSITIF DE FIXATION

Les supports de sacoches Aeroe récompensés au prix Design & Innovation 2025
Ce prix est connu sous le nom de l’« Oscars de l’industrie du vélo ».

Le prix montre l’approbation pour les produits les plus performants de l’industrie du vélo. C’est plus qu’un simple titre, c’est l’attribution de manière définitif des produits dans le monde réel, en les évaluant dans leur intégralité et en atteignant des décisions réfléchies. Cette année encore, certains journalistes internationaux, pilotes d’essais professionnels et experts de l’industrie investissent plus de 6.000 heures de leur temps pour participer au processus.
Spider Front Rack et QuickLock Urban Back annoncés comme gagnants.
Plus d’informations sur le site https://design-innovation-award.com/
Spider Front Rack : Le Porte-Bagages Avant Révolutionnaire pour le VTT et le Bikepacking
Pour les cyclistes en VTT et en bikepacking, transporter du matériel sans alourdir le vélo ni compromettre sa maniabilité est un défi constant. Les porte-bagages traditionnels sont souvent lourds, encombrants ou incompatibles avec les fourches suspendues, limitant ainsi les options de chargement. Le Spider Front Rack de Aeroe change la donne avec un design léger, robuste et polyvalent, spécialement conçu pour s’adapter aux fourches avant de VTT sans sacrifier les performances.
Contexte et Problématiques Résolues
Les bikepackers font face à trois défis majeurs pour transporter leur équipement :
- Poids et encombrement :
- Les porte-bagages classiques sont lourds et déséquilibrent le vélo, surtout sur les terrains techniques.
- Les sacoches avant traditionnelles limitent le débattement de la suspension, réduisant le confort et la maniabilité.
- Compatibilité limitée :
- Beaucoup de porte-bagages nécessitent des inserts spécifiques ou des fixations complexes, incompatibles avec la plupart des fourches suspendues.
- Les solutions universelles sont souvent peu stables et peu sécurisées, surtout sur les sentiers accidentés.
- Polyvalence et modularité :
- Les cyclistes doivent souvent changer de système selon l’usage (quotidien, voyage, compétition), ce qui est coûteux et peu pratique.
- Les porte-bagages fixes ne s’adaptent pas aux différents types de sacoches ou d’accessoires.
L’Innovation : Un Porte-Bagages Léger, Modulaire et Compatible avec les Fourches Suspendues
Le Spider Front Rack résout ces problèmes grâce à cinq innovations clés :
- Design ultra-léger et robuste :
- Poids plume (641 g) : Fabriqué en acier inoxydable, aluminium et nylon renforcé de verre, il allie légèreté et résistance.
- Capacité de charge de 16 kg : Suffisant pour transporter tout l’équipement nécessaire pour un week-end ou une randonnée.
- Fixation universelle et rapide :
- S’adapte à presque toutes les fourches de VTT (sauf les fourches rigides), sans inserts spécifiques ni ancrage sur l’axe.
- Montage/démontage en quelques secondes : Idéal pour transférer le support d’un vélo à l’autre ou pour les trajets quotidiens.
- Compatibilité avec les fourches suspendues :
- Design breveté qui préserve le débattement de la suspension : Vous profitez pleinement de l’amortissement, même sur les terrains techniques.
- Stabilité garantie : Votre équipement reste parfaitement sécurisé, quelles que soient les conditions de pilotage.
- Modularité extrême :
- Compatible avec tous les accessoires Aeroe :
- Pannier Receiver : Pour fixer des sacoches classiques.
- Spider Cradle : Pour des sacs étanches ou des systèmes de transport spécifiques.
- Quick Mount Pod : Pour un accès rapide aux petits objets (téléphone, outils, encas).
- Personnalisable selon vos besoins : Week-end, trajet quotidien ou aventure en bikepacking.
- Compatible avec tous les accessoires Aeroe :
- Polyvalence pour tous les usages :
- Idéal pour le VTT et le bikepacking : Transport d’équipement volumineux (tente, sac de couchage, vêtements).
- Adapté aux trajets quotidiens : Sacoches pour ordinateur, courses ou outils.
- Transférable entre vélos : Passez facilement d’un VTT à un gravel ou un vélo de ville.

Avantages Clés pour les Cyclistes en VTT et Bikepacking
✅ Léger et résistant :
- 641 g seulement pour une capacité de 16 kg : Équilibre parfait entre légèreté et robustesse.
- Matériaux haut de gamme : Acier inoxydable, aluminium et nylon renforcé pour une durabilité à toute épreuve.
✅ Fixation universelle et rapide :
- Pas besoin d’inserts spécifiques : Compatible avec la plupart des fourches de VTT.
- Montage/démontage en un clin d’œil : Parfait pour les cyclistes qui utilisent plusieurs vélos.
✅ Compatibilité avec les fourches suspendues :
- Ne limite pas le débattement : Conçu pour préserver les performances de la suspension.
- Stabilité optimale : Équipement sécurisé, même sur les sentiers les plus techniques.
✅ Modularité et polyvalence :
- Compatible avec tous les accessoires Aeroe : Sacoches, sacs étanches, systèmes de transport.
- Adaptable à tous les usages : VTT, bikepacking, trajets quotidiens.
✅ Confort et maniabilité préservés :
- Équilibrage optimal : Répartition du poids pour une conduite stable et agréable.
- Pas de vibrations ni de bruits : Conçu pour un pilotage fluide et silencieux.

Porte-Bagages Avant Aeroe Spider
QuickLock Urban Backpack : Le Sac Polyvalent et Étanche pour VTT et Quotidien
Pour les cyclistes urbains et les amateurs de VTT, trouver un sac à la fois pratique, étanche et élégant est un vrai défi. Les sacs classiques sont souvent encombrants, peu stables sur le vélo ou difficiles à transformer pour un usage quotidien. Le QuickLock Urban Backpack d’Aeroe révolutionne cette expérience avec un design 3-en-1 (sac à dos, bandoulière, tote bag), une fixation ultra-rapide sur les porte-bagages Aeroe et une étanchéité totale (IP64). Voici pourquoi il est indispensable pour les cyclistes modernes.
Contexte et Problématiques Résolues
Les cyclistes urbains et VTTistes rencontrent trois défis majeurs avec les sacs traditionnels :
- Manque de polyvalence :
- Les sacs à dos classiques glissent ou bougent sur le vélo, surtout sur les terrains accidentés.
- Les sacs étanches sont souvent peu élégants et difficiles à utiliser hors du vélo (réunions, courses, etc.).
- Fixation complexe et bruyante :
- Les systèmes de fixation traditionnels (sangles, crochets) sont lents à attacher/détacher et produisent des bruits parasites en roulant.
- Les sacs mal fixés déséquilibrent le vélo et réduisent le confort de conduite.
- Étancheité et durabilité limitées :
- Beaucoup de sacs « étanches » laissent passer l’eau après quelques utilisations ou sous une pluie battante.
- Les matériaux fragiles se déchirent ou perdent leur imperméabilité avec le temps.
L’Innovation : Un Sac 3-en-1, Étanche et Ultra-Pratique
Le QuickLock Urban Backpack résout ces problèmes grâce à cinq innovations clés :
- Système de fixation QuickLock :
- Clipser/déclipser le sac en 1 seconde sur n’importe quel rack Aeroe (Spider Rear Rack, Spider Front Rack).
- Orientation à 360° : Le sac peut être positionné verticalement, horizontalement ou incliné, selon vos préférences et votre style de conduite.
- Stabilité impeccable : Aucun bruit ni mouvement parasite, même sur les sentiers techniques.
- Trois styles en un seul sac :
- Sac à dos : Pour un usage classique à vélo ou en ville.
- Bandoulière : Pour un look décontracté ou professionnel (réunions, cafés).
- Tote bag : Pour les courses ou les déplacements quotidiens.
- Sangles magnétiques interchangeables : Transformation instantanée et sans outil.
- Étancheité totale (IP64) :
- Construction 100 % soudée en TPU : Aucune couture = aucune fuite.
- Certifié IP64 : Résiste à la pluie battante et aux projections d’eau, même en VTT.
- Matériaux robustes : Conçu pour durer, sans perte d’étanchéité.
- Design élégant et professionnel :
- Passe du vélo au bureau en 2 secondes : Style épuré et moderne, compatible avec un usage urbain ou sportif.
- Espace pour un ordinateur 16 pouces : Parfait pour les télétravailleurs, étudiants ou professionnels en déplacement.
- Capacité optimisée pour l’essentiel :
- Volume de 10 L : Suffisant pour transporter ordinateur, vêtements de rechange, outils, encas et téléphone.
- Poches organisées : Accès rapide aux objets fréquents (clés, portefeuille, écouteurs).

Avantages Clés pour les Cyclistes Urbains et VTTistes
✅ Polyvalence inégalée :
- 3 styles en 1 sac : Sac à dos, bandoulière ou tote bag, selon vos besoins.
- Fixation instantanée sur tous les racks Aeroe (avant/arrière).
✅ Stabilité et silence :
- Aucun mouvement ni bruit grâce au système QuickLock et à l’orientation à 360°.
- Idéal pour les terrains techniques (VTT) ou les trajets urbains.
✅ Étancheité totale (IP64) :
- 100 % soudé en TPU : Résiste à la pluie, à la boue et aux projections.
- Durabilité accrue : Matériaux conçus pour résister aux intempéries et à l’usure.
✅ Élégance et professionnalisme :
- Design épuré pour un usage urbain (réunions, travail) ou sportif.
- Espace pour ordinateur 16″ : Parfait pour les cyclistes qui enchaînent vélo et bureau.
✅ Léger et compact :
- 1,2 kg (sans rondelle) / 1,37 kg (avec rondelle) : Léger pour un sac aussi robuste.
- Dimensions optimisées (440 × 315 × 80 mm) : Ni trop encombrant, ni trop petit.
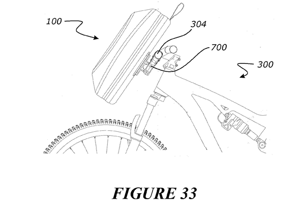
Spider Rear Rack : Le Porte-Bagages Arrière Révolutionnaire pour VTT et Bikepacking
Les porte-bagages traditionnels sont souvent lourds, encombrants ou incompatibles avec les cadres modernes (petits cadres, vélos tout-suspendus, tiges de selle télescopiques). Le Spider Rear Rack d’Aeroe change la donne avec un design universel, ultra-stable et modulaire, spécialement conçu pour s’adapter à tous les VTT sans sacrifier les performances ni l’esthétique.
Contexte et Problématiques Résolues
Les cyclistes en VTT et bikepacking font face à quatre défis majeurs pour transporter leur équipement à l’arrière :
- Compatibilité limitée :
- Les porte-bagages classiques nécessitent des fixations spécifiques (sur l’axe ou la tige de selle), incompatibles avec les vélos tout-suspendus ou les petits cadres.
- Les solutions universelles sont souvent instables ou peu sécurisées sur les terrains techniques.
- Poids et encombrement :
- Les racks traditionnels sont lourds (souvent plus de 1 kg) et déséquilibrent le vélo, surtout quand ils sont chargés.
- Ils gênent l’utilisation de la tige de selle télescopique, limitant la maniabilité en descente.
- Stabilité et silence :
- Les porte-bagages mal conçus vibrent, font du bruit ou se desserrent sur les sentiers accidentés.
- Les sangles ou fixations bas de gamme s’usent rapidement et ne maintiennent pas bien la charge.
- Modularité insuffisante :
- Les racks fixes ne s’adaptent pas à différents types de sacs ou d’équipements (tente, sacs étanches, outils).
- Les cyclistes doivent souvent acheter plusieurs systèmes pour différents usages (quotidien, voyage, compétition).
L’Innovation : Un Porte-Bagages Universel, Léger et Modulaire

Le Spider Rear Rack résout ces problèmes grâce à six innovations clés :
- Compatibilité universelle :
- S’adapte à tous les VTT (petits cadres, tout-suspendus, vélos électriques) sans fixation sur l’axe ni sur la tige de selle.
- Système à libération rapide : Installation sans outils ni kits spécifiques, en quelques secondes.
- Léger et robuste :
- Poids plume : 641 g pour le rack seul (979 g avec berceau et sangles), en acier inoxydable, aluminium thermolaqué et nylon renforcé de fibre de verre.
- Capacité de charge de 16 kg : Suffisant pour transporter tente, sacs étanches, vêtements et outils pour une semaine d’autonomie.
- Stabilité et silence absolus :
- Conçu pour les terrains difficiles : Reste solide et silencieux, même sur les sentiers les plus techniques.
- Sangles enduites de silicone : Anti-glisse et anti-vibration, pour un maintien parfait de la charge.
- Modularité extrême :
- Berceau inclus pour fixer un sac étanche (IP65) ou tout autre équipement (tente, matelas, vêtements).
- Jusqu’à 3 berceaux supplémentaires peuvent être ajoutés pour une capacité d’emport accrue.
- Compatible avec tous les accessoires Aeroe (Spider Cradle, Quick Mount Pod, etc.).
- Design intégré et esthétique :
- Se fond harmonieusement dans l’esthétique du vélo, qu’il soit musculaire ou électrique.
- Ne gêne pas la tige de selle télescopique : Permet une utilisation optimale en descente ou sur terrain technique.
- Polyvalence pour tous les usages :
- Idéal pour le bikepacking : Transport de matériel volumineux (tente, sac de couchage, nourriture).
- Adapté aux trajets quotidiens : Sacs pour ordinateur, courses ou outils.
- Transférable entre vélos : Passe facilement d’un VTT à un gravel ou un vélo de ville.

Avantages Clés pour les Cyclistes en VTT et Bikepacking
✅ Compatibilité universelle :
- S’adapte à tous les VTT (même tout-suspendus ou petits cadres) sans modification.
- Pas de fixation sur l’axe ou la tige de selle : Libère la maniabilité du vélo.
✅ Léger et ultra-robuste :
- 641 g seulement pour une capacité de 16 kg.
- Matériaux haut de gamme : Acier inoxydable, aluminium et nylon renforcé pour une durabilité à toute épreuve.
✅ Stabilité et silence :
- Conçu pour les terrains techniques : Aucune vibration ni bruit, même chargé.
- Sangles anti-glisse pour un maintien parfait de la charge.
✅ Modularité et polyvalence :
- Berceau inclus + jusqu’à 3 berceaux supplémentaires pour une capacité d’emport illimitée.
- Compatible avec tous les sacs étanches Aeroe (IP65) et accessoires.
✅ Design intégré et discret :
- Ne gêne pas la tige de selle télescopique.
- Esthétique épurée qui s’intègre parfaitement au vélo.
✅ Facilité d’utilisation :
- Montage/démontage en quelques secondes.
- Transférable entre différents vélos sans outil.

Porte-Bagages Arrière Aeroe Spider

Support Supplémentaire pour Porte-Bagages Arrière Aeroe Spider
Spider Handlebar Cradle : Le Système de Fixation sur Guidon Ultime pour VTT et Bikepacking

Pour les cyclistes en VTT et en bikepacking, transporter du matériel sur le guidon sans déséquilibrer le vélo ni gêner les commandes est un défi constant. Les systèmes de fixation traditionnels sont souvent instables, encombrants ou difficiles à installer, surtout sur les terrains techniques. Le Spider Handlebar Cradle d’Aeroe révolutionne cette expérience avec un design ultra-stable, léger et polyvalent, spécialement conçu pour s’adapter à tous les guidons et transporter sacs étanches, tente ou équipement léger sans sacrifier la maniabilité.
Contexte et Problématiques Résolues
Les cyclistes en VTT et bikepacking font face à trois défis majeurs pour transporter du matériel sur le guidon :
- Instabilité et déséquilibre :
- Les systèmes de fixation classiques bougent ou vibrent sur les terrains accidentés, déséquilibrant le vélo et réduisant le contrôle.
- Les sacs mal fixés glissent ou s’affaissent, surtout quand ils sont lourds ou mal répartis.
- Compatibilité limitée :
- Beaucoup de supports de guidon gênent les câbles de frein/dérailleur ou le tube de direction, limitant leur utilisation.
- Les solutions universelles sont souvent peu sécurisées ou difficiles à installer sans outils.
- Polyvalence insuffisante :
- Les systèmes fixes ne s’adaptent pas à différents types de sacs (étanches, cylindriques, etc.).
- Les cyclistes doivent souvent acheter plusieurs accessoires pour différents usages (sortie journée, bikepacking, compétition).
L’Innovation : Un Système de Fixation Ultra-Stable, Léger et Modulaire
Le Spider Handlebar Cradle résout ces problèmes grâce à cinq innovations clés :
- Installation ultra-rapide :
- Fixation en quelques secondes grâce à un système de libération rapide breveté.
- Aucun outil nécessaire : Montage et démontage instantanés, même en pleine sortie.
- Stabilité maximale :
- Conçu pour les terrains exigeants : Reste stable et silencieux, même sur les sentiers techniques.
- Sangles intégrées enduites de silicone : Maintiennent le sac parfaitement en place, sans mouvement parasite.
- Polyvalence extrême :
- Compatible avec tous les sacs étanches Aeroe et les sacs cylindriques d’autres marques.
- Idéal pour les sorties à la journée (snacks, outils, vêtements) ou les aventures sur plusieurs jours (sac de couchage, tente légère).
- Design optimisé pour le guidon :
- Ne gêne pas les câbles : Conçu pour rester dégagé du tube de direction et des commandes.
- Structure légère et robuste : En acier inoxydable, aluminium anodisé et nylon renforcé de fibre de verre pour une durabilité à toute épreuve.
- Capacité de charge optimisée :
- 5 kg de charge maximale : Suffisant pour transporter l’essentiel (nourriture, outils, vêtements légers) sans alourdir le guidon.
- Fini les sacs qui s’affaissent : Maintient l’équipement parfaitement en place, même en tout-terrain.
Avantages Clés pour les Cyclistes en VTT et Bikepacking
✅ Installation ultra-rapide et sans outil :
- Fixation en quelques secondes grâce au système de libération rapide.
- Transférable entre vélos pour une utilisation polyvalente.
✅ Stabilité et silence absolus :
- Conçu pour les terrains techniques : Aucune vibration ni bruit, même chargé.
- Sangles anti-glisse pour un maintien parfait du sac.
✅ Polyvalence et modularité :
- Compatible avec tous les sacs étanches (Aeroe ou autres marques).
- Idéal pour les sorties à la journée ou les aventures multi-jours.
✅ Design optimisé pour le guidon :
- Ne gêne pas les câbles ni les commandes.
- Léger (464 g) et robuste pour une utilisation intensive.
✅ Capacité de charge pratique :
- 5 kg : Suffisant pour les essentiels (nourriture, outils, vêtements légers).
- Maintien parfait du sac, même en tout-terrain.

Porte-Bagages De Guidon Aeroe Spider


Laisser un commentaire