Le guidon est le cœur de votre expérience à vélo. Pourtant, les solutions traditionnelles imposent des compromis frustrants : posture inconfortable, encombrement des accessoires, manque de stabilité ou incompatibilité entre les différents équipements. Comment concilier confort, sécurité et modularité sans alourdir votre vélo ni sacrifier la performance ?
C’est là que les innovations récentes, protégées par des brevets révolutionnaires, changent la donne. Des cintres modulables aux supports d’accessoires intelligents, en passant par des poignées ergonomiques ou des systèmes de fixation universels, ces inventions redéfinissent les standards du guidon. Elles répondent à un impératif commun : optimiser votre position, votre confort et votre accès aux accessoires, tout en gardant un setup léger, robuste et polyvalent.
Cintre modulable
Contexte et problème résolu
Les cintres « drop » (cintres de route) offrent plusieurs positions de mains pour améliorer le confort, le contrôle et l’aérodynamisme, mais présentent deux limites majeures :
- Position basse inconfortable pour les vélos gravel ou bikepacking, où la stabilité et le confort sont prioritaires sur les descentes ou terrains techniques.
- Manque d’espace pour les accessoires (GPS, sacoches, téléphones, etc.) : La zone centrale, déjà occupée par la potence, devient rapidement encombrée, et les accessoires volumineux (comme les sacs de guidon) manquent de stabilité.
Innovation proposée
Brevet: WO2025193740A1
Titre: GUIDON DE BICYCLETTE À MULTIPLES OPTIONS DE MONTAGE
Demandeur: REDSHIFT SPORTS
Ce brevet décrit un cintre drop révolutionnaire avec :
- Deux positions de montage pour la potence :
- Position haute : Pour une posture plus droite, idéale pour le gravel, le bikepacking ou les descentes techniques.
- Position basse : Pour une posture aéro, adaptée à la route ou aux vitesses élevées.
- Structure unique à double tube central :
- Un tube supérieur et un tube inférieur parallèles, reliés par des sections inclinées.
- Plus d’espace pour monter des accessoires, avec une stabilité accrue (les sacs ou GPS peuvent être fixés simultanément sur les deux tubes, évitant les rotations indésirables).

Avantages clés
✅ Polyvalence : Passe facilement d’une position aérodynamique (route) à une position confortable et contrôlée (gravel/bikepacking).
✅ Stabilité des accessoires : La double structure permet une fixation plus solide et équilibrée des sacs, GPS, ou éclairages.
✅ Léger et robuste : Conçu pour résister aux contraintes tout en restant compatible avec les vélos modernes.
✅ Facilité d’utilisation : Pas besoin de remplacer ou ajuster d’autres composants pour changer de position.

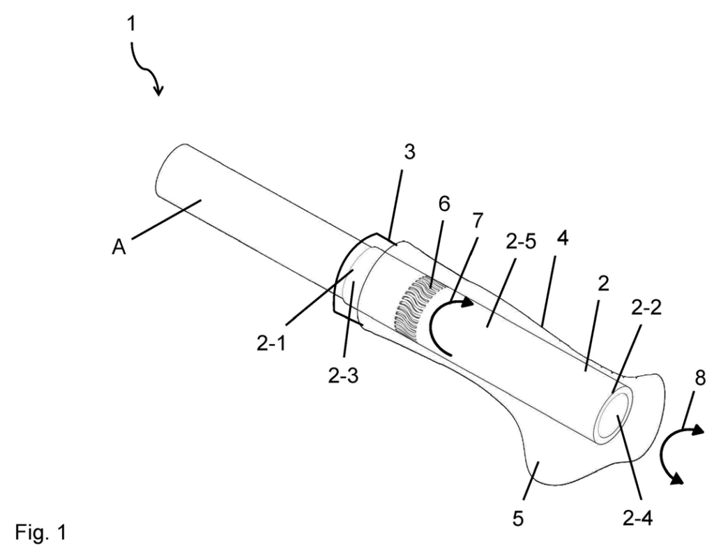
Poignées ergonomiques
Problème identifié
Les poignées de vélo classiques, bien qu’efficaces pour un grip confortable, présentent des limites ergonomiques lors de pratiques exigeantes notamment en VTT:
- Manque d’absorption des chocs : Les poignées traditionnelles, avec leur manchon interne rigide, ne peuvent pas absorber efficacement les pics de force, les vibrations ou les couples de torsion générés par les mouvements rythmiques du cycliste en position debout.
- Inconfort et fatigue : Ces contraintes se répercutent sur les mains, causant des douleurs, une perte de contrôle et une usure prématurée des poignées.
- Solutions existantes insuffisantes : Les poignées avec revêtement déformable (ex. : caoutchouc) atténuent légèrement les vibrations, mais ne résolvent pas le problème des torques (mouvements de torsion) ou des points de pression localisés.
Innovation proposée
Brevet: EP4516653A1
TItre: POIGNÉE DE VÉLO
Demandeur: SQLAB GMBH

Ce brevet introduit une poignée de vélo révolutionnaire, combinant :
- Un manchon interne unique :
- Doté de multiples ouvertures ondulées
- Ces ouvertures, en forme de vagues sinusoïdales, affaiblissent localement la rigidité du manchon.
- Résultat : Absorption dynamique des pics de force, torques et vibrations, améliorant le confort et réduisant la fatigue des mains.
- Un système de retour automatique :
- Les ouvertures ondulées sont remplies d’un plastique déformable, qui agit comme un ressort de torsion.
- Après une rotation causée par un effort, le plastique exerce une force de rappel pour ramener le manchon à sa position initiale.
- Matériaux:
- Manchon interne : En matériau rigide pour une stabilité structurelle.
- Revêtement externe : En élastomère ou caoutchouc pour le confort et l’amortissement.
Avantages clés

✅ Confort accru :
- Absorption des vibrations, torques et chocs lors des pratiques exigeantes
- Réduction de la fatigue des mains et des douleurs articulaires.
✅ Stabilité et sécurité :
- Maintien d’une fixation solide sur le guidon
- Retour automatique à la position initiale après effort.
✅ Polyvalence :
- Adaptée à tous les types de vélos (route, VTT, gravel) et de pratiques (loisir, compétition, aventure).
- Compatible avec les accessoires (gants, sacs de guidon) grâce à sa forme ergonomique.
✅ Durabilité :
- Matériaux résistants à l’usure et aux intempéries.
- Conception sans jeu ni bruits parasites.
Produits commercialisés

Paire de Poignées Ergonomiques SQlab 170
Sonnette discrète
Problèmes des sonnettes traditionnelles
Les sonnettes de vélo classiques, bien qu’efficaces, présentent plusieurs inconvénients majeurs :
- Encombrement : Leur forme hémisphérique saillante prend de la place sur le guidon, déjà souvent occupé par des accessoires (GPS, éclairages, etc.).
- Gêne aérodynamique et esthétique : Leur profil protubérant nuit à l’aérodynamisme et à l’aspect visuel du vélo.
- Risque d’accrochage : Elles peuvent accrocher les vêtements ou les câbles (freins, dérailleurs), perturbant la conduite.
- Gestion des câbles : Les câbles doivent contourner la sonnette, ce qui complique leur organisation et peut les endommager.
Innovation proposée
Brevet: AU2021225126
Titre: Bell for a bicycle
Demandeur: KNOG PTY LTD

Ce brevet présente une sonnette de vélo discrète et intégrée, conçue pour :
- S’intégrer parfaitement au guidon
- Faciliter la gestion des câbles
- Fonctionnement optimisé :
- Système de suspension : La cloche est maintenue à distance du support par des ressorts permettant une réverbération optimale du son quand elle est frappée.
- Mécanisme de frappe :
- Version à levier : Un levier (striker) pivotant, actionné par le pouce, frappe la cloche pour produire un son clair.
- Version coulissante : Un striker coulissant le long d’un rail frappe l’extrémité de la cloche (idéal pour les guidons encombrés).
- Montage simple et universel : Le support se fixe autour du guidon via une boucle ajustable, compatible avec la plupart des diamètres standards (ex. : 22.2 mm ou 31.8 mm).
- Sécurité et stabilité :
- Des goupilles de positionnement (locating pins) empêchent la cloche de se détacher latéralement en cas de choc.
- La cloche reste stable même sur des terrains accidentés, grâce à sa fixation résiliente.
Avantages clés
✅ Design discret et aéro : Intégration harmonieuse au guidon, sans saillie disgracieuse.
✅ Gestion des câbles optimisée : Espace dédié pour éviter les encombrements et les frottements.
✅ Son clair et durable : Réverbération efficace grâce à la suspension et aux matériaux choisis.
✅ Montage universel : Compatible avec la plupart des vélos (route, VTT, urbain).
✅ Robuste et légère : Matériaux résistants (métal, composites) pour une longue durée de vie.
✅ Polyvalente : Deux versions de striker (pivotant ou coulissant) pour s’adapter aux préférences des cyclistes.
Produits commercialisés
Kit de fixation universel pour accessoires de guidon
Contexte et problématique
Les cyclistes font face à trois défis majeurs pour fixer des accessoires sur leurs guidons :
- Compatibilité limitée :
- Les poignées varient en diamètre, longueur et forme
- Les solutions existantes nécessitent des colliers dédiés, incompatibles avec les poignées de marques différentes
- Encombrement :
- Les systèmes de fixation actuels multiplient les colliers sur le guidon, déjà saturé par les commandes (freins, dérailleurs, écrans GPS), et d’autant plus pour les e-bikes.
- Manque de modularité :
- Les accessoires fixes gênent l’accès aux commandes (levier de frein)

Innovation proposée : Un kit universel et ajustable
Brevet: US2025026431A1
Titre: KIT FOR MOUNTING AN ACCESSORY ON HANDGRIPS OF A BICYCLE OR MOTORCYCLE
Demandeur: CRANK BROTHERS INC

Ce brevet introduit un système modulaire pour monter des accessoires sur n’importe quelle poignée ou guidon, avec :
- Collier adaptable (5) :
- Forme en C avec une encoche (11) pour s’adapter aux poignées avec ou sans rebord
- Calage précis grâce à des entretoises de différentes épaisseurs, comblant les écarts entre le collier et la poignée
- 4 modèles d’entretoises pour couvrir toutes les configurations
- Bras articulé (8) :
- Réglage en rotation : Le bras (8) pivote autour du collier (5) via une glissière courbe (5n), permettant d’ajuster l’angle de l’accessoire sans outils.
- Double position de fixation : Pour éviter les conflits avec les réservoirs de frein ou les commandes, tout en gardant l’accessoire vertical.
- Légèreté : matériaux optimisés (aluminium pour le bras, plastique pour les accessoires).
- Fixation rapide et sécurisée :
- Une seule vis (7) pour serrer le collier sur la poignée.
- Montage/démontage instantané des accessoires via un système à enclenchement (13) (sans toucher au collier).
- Positionnement précis grâce à des ergots et logements pour éviter les glissements.
- Accessoires interchangeables :
- Protections (2), éclairages (FIG. 18), sonnettes (FIG. 19).


Avantages clés
✅ Universel :
- Compatible avec toutes les marques de poignées
- Pas besoin de colliers supplémentaires : Libère de l’espace sur le guidon.
✅ Modulable et ajustable :
- Réglage fin de la position (latérale/verticale) des accessoires
- Rotation libre du bras (8) pour optimiser l’ergonomie.
✅ Léger et compact :
- Poids minimal (aluminium + plastique), pas de pièces superflues.
- Montage en 2 étapes : 1) Fixer le collier, 2) Clipser l’accessoire.
✅ Robuste et durable :
- Résiste aux vibrations (VTT, moto) grâce aux ergots (22) et logements (21).
- Matériaux adaptés : Aluminium pour la structure, polypropylene pour les entretoises.
✅ Polyvalent :
- Multi-usage : Protections, éclairages, sonnettes, GPS.
- Idéal pour le VTT, et le bikepacking
Support modulable de sacoche de guidon
Contexte et problématiques résolues
Les sacoches de guidon traditionnelles posent trois défis majeurs aux cyclistes:
- Sécurité et stabilité :
- Les sacoches mal fixées déséquilibrent le vélo, surtout sur les guidons « drop bar » (route/gravel) ou « flat bar » (VTT).
- Risque de torsion des câbles (freins, dérailleurs) ou de blocage des commandes (leviers, GPS).
- Encombrement et accessibilité :
- Les sacoches volumineuses limitent l’espace pour les mains et gênent la prise en main du guidon.
- Difficile d’accéder aux accessoires essentiels (GPS, téléphone, éclairage) sans arrêter le vélo.
- Compatibilité limitée :
- Les supports existants sont souvent spécifiques à un type de guidon (drop ou flat), ou incompatibles avec les guidons en carbone.
Innovations clés du support ILCOSO

- Modularité universelle :
- Adaptable aux guidons « drop bar » et « flat bar » grâce à un système de fixation ajustable.
- 3 emplacements dédiés pour monter un GPS, un éclairage avant et un téléphone, sans outils supplémentaires.
- Rapprochement de la sacoche vers le tube de direction, améliorant la stabilité et la répartition du poids.
- Design léger et résistant :
- Structure en polyamide PA6 : Élasticité, résistance aux chocs et légèreté (320 g seulement).
- Tube en aluminium anodisé pour le support d’appareils : Durabilité et compatibilité avec les guidons en carbone ou aluminium.
- Charge maximale de 3 kg, idéale pour les sacoches Miss Grape (Trunk 6/8/16).
- Sécurité et ergonomie :
- Colliers de serrage longs/courts pour éviter la torsion des câbles et libérer de l’espace pour les mains.
- Sangles de fixation larges (25 mm) et longues (83 cm) pour une stabilité optimale, même sur terrains accidentés.
- Largeur minimale requise de 83 mm sur le guidon, compatible avec la plupart des vélos.

Avantages clés pour les utilisateurs
✅ Sécurité renforcée :
- Évite les déséquilibres et les interférences avec les commandes (freins, dérailleurs).
- Compatibilité carbone/aluminium sans risque d’endommagement.
✅ Polyvalence et modularité :
- Un seul support pour tous les types de guidon (drop/flat), et trois accessoires simultanés (GPS + téléphone + éclairage).
- Adaptable aux sacoches étanches Miss Grape (Trunk 6/8/16).
✅ Léger et discret :
- 320 g seulement, idéal pour le bikepacking et les longues distances.
- Design épuré qui ne gêne pas la prise en main du guidon.
✅ Pratique et ergonomique :
- Accès rapide aux accessoires sans quitter les mains du guidon.
- Installation sans outils grâce aux colliers et sangles pré-ajustés.
✅ Durabilité et garantie :
- Matériaux premium (PA6, aluminium anodisé) résistants aux intempéries et aux chocs.
- Garantie 3 ans, preuve de la confiance du fabricant.

Support de Sacoche de Guidon Miss Grape ILCOSO







Laisser un commentaire