Le cyclisme évolue, les technologies ne se sont pas contentées d’améliorer les performances, elles les ont réinventées. Voici trois innovations majeures qui transforment l’expérience des cyclistes:
- Cales SPD CL-MT001 : Enclenchement Instantané et Silencieux
- Wahoo Elemnt Ace : Le GPS Ultra-Intuitif et Connecté
- SRAM Energy Harvesting : Recharge Solaire Intégrée
Système de cale SPD CL-MT001 – Connexion optimisée pour le VTT
Contexte et problématique
Les cales SPD (Shimano Pedaling Dynamics) sont largement utilisées en VTT ou gravel, mais les modèles traditionnels présentent plusieurs limites majeures :
- Difficulté d’enclenchement :
- Les cales classiques nécessitent un positionnement précis du pied pour s’enclencher, ce qui peut être difficile en conditions techniques (terrain accidenté, boue, fatigue).
- Risque de ratés d’enclenchement, surtout pour les cyclistes débutants ou en situation de stress.
- Usure et bruit :
- Les cales standard ont un dégagement limité par rapport au sol, ce qui entraîne :
- Un frottement constant lors de la marche, accélérant l’usure de la cale et de la semelle.
- Un bruit de claquettes gênant, surtout sur les sols durs (rochers, routes).
- Les cales standard ont un dégagement limité par rapport au sol, ce qui entraîne :
- Manque de polyvalence :
- Les cales traditionnelles n’offrent qu’un seul point d’enclenchement (par l’avant du pied), ce qui limite la liberté de mouvement et la réactivité en descente ou sur terrain technique.
- Inconfort à pied : La marche prolongée (ex. : portages en VTT) use rapidement la cale et la semelle, réduisant la durée de vie du matériel.
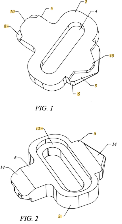
Innovation proposée : Cales SPD CL-MT001

Ce système de cales révolutionne la connexion pédale/chaussure grâce à trois innovations majeures :
- Pointe conique pour un enclenchement facilité :
- Design élancé et guidé : La cale intègre une pointe conique qui centre automatiquement le pied vers la pédale, même en cas de mauvais alignement initial.
- Réduction des ratés : L’enclenchement devient instantané et intuitif, même en conditions extrêmes (boue, fatigue, terrain technique).
- Compatibilité universelle : Fonctionne avec toutes les pédales SPD standard, sans nécessiter de modification.
- Dégagement accru par rapport au sol :
- Hauteur optimisée : La cale surélève légèrement le pied, limitant les frottements lors de la marche.
- Réduction du bruit : Le contact avec le sol est minimisé, éliminant le claquement caractéristique des cales traditionnelles.
- Durabilité accrue : Moins d’usure de la cale et de la semelle, prolongeant la durée de vie du matériel.
- Points d’enclenchement multiples :
- Enclenchement avant ET talon : Le design permet un verrouillage du pied depuis deux angles différents (avant ou arrière), offrant une liberté de mouvement inédite.
- Stabilité renforcée : Le pied reste solidement ancré à la pédale, même en déséquilibre (ex. : descente technique, saut).
- Concentration optimisée : Le cycliste n’a plus à ajuster son pied pour enclencher, ce qui améliore la réactivité et la confiance.
Avantages clés
✅ Connexion fiable et intuitive :
- Enclenchement sans effort, même en conditions difficiles (boue, fatigue).
- Positionnement sûr du pied, réduisant les risques de désengagement accidentel.
✅ Performance à pied améliorée :
- Moins de bruit et d’usure lors de la marche (idéal pour les portages en VTT ou les pauses).
- Durabilité accrue grâce à la réduction des frottements.
✅ Polyvalence et liberté de mouvement :
- Enclenchement depuis l’avant ou le talon, pour une adaptabilité maximale (montée, descente, terrain technique).
- Compatibilité avec toutes les pédales SPD, sans besoin de matériel spécifique.
✅ Confort et sécurité :
- Stabilité à toute épreuve, même sur les terrains les plus exigeants.
- Réduction de la fatigue grâce à un enclenchement/désenclenchement fluide.
✅ Design optimisé pour le VTT :
- Léger et discret, sans ajout de poids superflu.
- Résistant aux chocs et à l’usure, conçu pour les pratiques intensives.

Ordinateur de vélo intelligent

Contexte et problématiques résolues
Les compteurs GPS pour vélo traditionnels souffrent de quatre limites majeures qui nuisent à l’expérience des cyclistes:
- Complexité d’utilisation :
- Les interfaces peu intuitives (boutons multiples, menus imbriqués) distraient le cycliste et ralentissent l’accès aux données essentielles
- Difficulté à naviguer en temps réel, surtout sur des parcours non préparés ou en cas de détour.
- Manque de données contextuelles :
- Les compteurs classiques n’intègrent pas les variables environnementales (ex. : vent, résistance aérodynamique), pourtant cruciales pour optimiser l’effort.
- Pas d’analyse post-sortie des conditions extérieures (ex. : impact du vent sur la performance).
- Autonomie et connectivité limitées :
- Batterie insuffisante pour les longues sorties (ex. : < 20 heures), obligeant à emporter des batteries externes.
- Connectivité instable (GPS, Bluetooth, ANT+) en milieu isolé ou en forêt.
- Encombrement et manque de polyvalence :
- Écrans trop petits pour afficher simultanément cartes détaillées + données de performance.
- Pas d’adaptation aux conditions changeantes (ex. : luminosité, terrain technique).
Innovations clés du Wahoo Elemnt Ace
Brevet: USD979433S
Titre: Cycling computer
Demandeur: WAHOO FITNESS LLC

Ce compteur GPS révolutionne l’expérience cycliste grâce à sept innovations majeures :
- Écran tactile haute définition surdimensionné :
- 3,8 pouces (96,7 mm) avec une résolution de 480 x 720 pixels et 16 millions de couleurs pour une lisibilité optimale, même en plein soleil.
- Contrôle intuitif : Pincement, glissement, appui pour zoomer sur les cartes, ajuster les données ou naviguer dans les menus – même avec des gants.
- Boutons physiques en complément pour une utilisation sans regarder l’écran (ex. : terrains techniques).
- Tableau de bord « Ready-To-Ride » :
- Préparation ultra-rapide : Choisissez un profil d’activité, chargez un itinéraire, vérifiez les capteurs et l’autonomie en un clin d’œil.
- Élimine les temps d’attente avant chaque sortie : tout est préchargé et synchronisé via l’appli Wahoo.
- Sensibilité aérodynamique en temps réel :
- Capteur de pression dynamique du vent intégré :
- Affiche les métriques AirBoost (gain aérodynamique) et AirDrag (résistance) en direct pendant la sortie.
- Analyse post-sortie via Wahoo Wind Dynamics™ : Comprenez l’impact du vent sur vos performances et ajustez votre stratégie.
- Idéal pour les cyclistes exigeants (contre-la-montre, gravel, longue distance) qui veulent optimiser leur effort en fonction des conditions.
- Capteur de pression dynamique du vent intégré :
- Navigation intelligente et vocale :
- Guidage vocal : Indications en temps réel pour ne jamais manquer un virage, même sans regarder l’écran.
- Recalcul automatique en cas de détour.
- Summit Freeride : Détection des montées à venir (filtrables par catégorie de difficulté) pour anticiper les efforts et gérer votre énergie.
- Autonomie et connectivité étendues :
- 30 heures de batterie (lithium-ion rechargeable via USB-C) pour les sorties les plus longues.
- GPS double-fréquence (GPS + GLONASS + Galileo) pour une précision inégalée, même en milieu urbain ou forestier.
- Connectivité Bluetooth 5.0, ANT+ et Wi-Fi pour une synchronisation instantanée avec les capteurs (fréquence cardiaque, cadence, puissance) et les applis (Strava, Komoot).
- Écosystème connecté et personnalisable :
- Synchronisation avec l’appli Wahoo :
- Configuration à distance (sans toucher le compteur).
- Partage de parcours via email ou messagerie, ou diffusion publique.
- Compatibilité avec les capteurs Wahoo (Trackr, TICKR, SPEEDPLAY) et les plans d’entraînement Systm.
- Bordures amovibles (bleu, rouge, noir) pour personnaliser le style selon vos préférences.
- Synchronisation avec l’appli Wahoo :
- Robustesse et polyvalence :
- Étanche IPX7 (résiste à 1 m d’immersion pendant 30 min).
- Carte mondiale préchargée (Amériques, Europe, Asie, Océanie) + possibilité de télécharger d’autres régions via Wi-Fi.
- Support en alliage d’aluminium inclus pour une fixation solide et légère (31,8 mm).


Avantages clés pour les cyclistes
✅ Simplicité et intuitivité :
- Écran tactile + boutons pour une navigation sans effort, même en mouvement.
- Tableau de bord « Ready-To-Ride » pour gagner du temps avant chaque sortie.
✅ Performance optimisée :
- Analyse aérodynamique en temps réel (vent, résistance) pour ajuster votre effort.
- Données précises (GPS double-fréquence, altimètre barométrique, gyroscope) pour un suivi complet de votre sortie.
✅ Navigation et sécurité renforcées :
- Guidage vocal et recalcul automatique pour ne jamais vous perdre.
- Détection des montées (Summit Freeride) pour anticiper les difficultés.
✅ Autonomie et connectivité :
- 30 heures de batterie pour les longues aventures.
- Synchronisation sans fil avec les capteurs et applis (Strava, Komoot).
✅ Polyvalence et personnalisation :
- Écran grand format pour afficher cartes + données simultanément.
- Bordures amovibles et écosystème Wahoo pour une expérience sur mesure.
✅ Robustesse et durabilité :
- Étanche IPX7 et résistant aux chocs.
- Carte mondiale préchargée pour rouler partout dans le monde.
Système de récupération d’énergie solaire pour composants de vélo
Problème résolu
Les cyclistes utilisent de plus en plus de composants électroniques (dérailleurs, capteurs de puissance, éclairages, etc.), mais leurs batteries se déchargent. Emporter une batterie de rechange est une solution, mais :
- Les batteries se déchargent même inutilisées (autodécharge chimique).
- Il faut penser à les recharger, ce qui est contraignant.
- En voyage ou en randonnée, pas toujours d’accès à une prise électrique.
Solution innovante
Brevet: US2022131404A1
Titre: ENERGY HARVESTING FOR A BICYCLE
Demandeur: SRAM LLC
Ce brevet propose d’intégrer un système de recharge solaire directement sur des composants existants du vélo (garde-boue, porte-bidon, panneaux flexibles), pour :
- Recharger une batterie de secours en permanence, même quand le vélo est à l’arrêt.
- Utiliser l’énergie solaire, une source gratuite et illimitée.
- Éviter les pannes de batterie sans effort.
Comment ça marche ?
1. Panneaux solaires intégrés
- Des cellules solaires (ex. : 20 petites cellules) sont disposées sur :
- Un garde-boue (avant ou arrière).
- Un porte-bidon.
- Un panneau flexible fixé sur le cadre.
- Avantage : Ces composants existent déjà sur la plupart des vélos → pas de modification structurelle nécessaire.
2. Circuit électrique intelligent
- Les cellules sont branchées en série-parallèle pour :
- Maximiser la puissance même si une partie est à l’ombre (ex. : si le soleil vient de droite, les cellules de gauche continuent de produire).
- Éviter les pertes grâce à des diodes qui bloquent les retours de courant.
- Un microcontrôleur (MCU) gère :
- La charge optimale de la batterie (algorithme MPPT pour capter un maximum d’énergie).
- La protection contre les surchauffes.
- Un voyant LED pour indiquer l’état de charge.
3. Batterie de secours toujours prête
- Une petite batterie (ex. : 6–8,4 V) est fixée sur le composant (ex. : garde-boue).
- Elle se recharge automatiquement via :
- Un condensateur qui stocke l’énergie solaire.
- Un convertisseur (boost) qui adapte la tension pour la batterie.
- Autonomie : Suffisante pour recharger un dérailleur, un éclairage ou un GPS en cas de panne.

Avantages clés
✅ Autonomie illimitée :
- Recharge même quand le vélo est garé (ex. : pendant une pause café).
- Pas besoin de penser à brancher la batterie.
✅ Léger et discret :
- Poids minimal (quelques dizaines de grammes).
- Intégré à des composants existants (garde-boue, porte-bidon).
✅ Écologique et économique :
- Énergie gratuite et renouvelable (solaire).
- Moins de gaspillage (batteries jetables en moins).
✅ Polyvalent :
- Compatible avec tous les vélos (VTT, route, urbain).
- Recharge tous les appareils (dérailleurs, éclairages, GPS, capteurs).
✅ Robuste et intelligent :
- Fonctionne même par faible luminosité (algorithme optimisé).
- Protection contre les surcharges et les décharges profondes.
Exemples concrets d’utilisation
- Garde-boue solaire (fig. 3–7) :
- Panneaux solaires sur la surface supérieure.
- Batterie fixée à l’avant, près des fixations.
- Idéal pour les vélos de randonnée (bikepacking).


- Porte-bidon solaire (fig. 12) :
- Cellules solaires sur les côtés du porte-bidon.
- Batterie intégrée dans la structure.
- Parfait pour les vélos de route (peu encombrant).

- Panneau flexible (fig. 11) :
- Se fixe sur le cadre (tube supérieur ou diagonal).
- Solution ultra-légère pour les vélos sans garde-boue.




Laisser un commentaire