Trois innovations majeures, brevetées par des leaders comme SRAM ou Schwalbe (Ralf Bohle GmbH), redéfinissent les standards des jantes, valves et pneus. Voici comment ces avancées optimisent l’expérience cycliste:
- Jante avec Capteur de Pression Intégré (SRAM) : La Roue Intelligente
- Valve de Chambre à Air Hybride (Schwalbe): Légèreté et Étanchéité Réinventées
- Pneu VTT à Structure Radiale (Schwalbe) : Adhérence et Confort Révolutionnaires
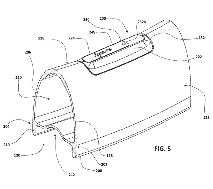
Jante de vélo avec capteur de pression intégré
Contexte et problématiques résolues
Les capteurs de pression pour pneus de vélo actuels posent quatre défis majeurs aux cyclistes et fabricants :
- Encombrement et aérodynamisme :
- Les capteurs externes (fixés sur la valve ou collés sur la jante) perturbent l’écoulement de l’air, augmentant la traînée et réduisant les performances, surtout en compétition ou en gravel.
- Ils déséquilibrent la roue, ce qui peut causer des vibrations ou une usure prématurée des roulements.
- Exposition aux produits d’étanchéité :
- Les capteurs montés sur la valve (ex. : Presta, Schrader) sont directement exposés aux liquides d’étanchéité (ex. : latex, slime) utilisés dans les pneus tubeless. Ces produits obstruent les ports de pression, faussant les mesures et réduisant la durée de vie du capteur.
- Complexité d’installation et d’entretien :
- Les solutions existantes nécessitent souvent un démontage partiel de la roue (dépose du pneu, dégonflage) pour remplacer la batterie ou accéder au capteur.
- Pas de standardisation : Chaque marque propose des systèmes incompatibles, limitant les choix des cyclistes.
- Fiabilité limitée :
- Les capteurs externes sont sensibles aux chocs, à l’humidité et aux variations de température, ce qui affecte la précision des données (ex. : pression, température).
Innovations clés du brevet
Brevet: US2025229578A1
Titre: BICYCLE WHEEL WITH AN INTEGRATED SENSOR DEVICE
Demandeur: SRAM LLC
Cette invention propose une jante intelligente avec un capteur de pression entièrement intégré, résolvant ces problèmes grâce à six avancées technologiques :
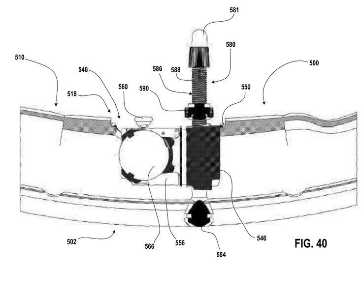
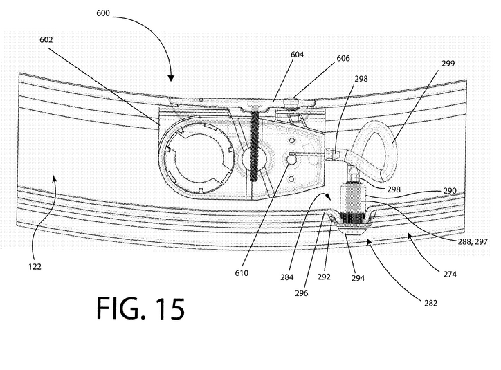
- Intégration discrète dans la jante :
- Le capteur est logé dans un logement dédié (receptacle) à l’intérieur de la jante (côté rayonnage), sans saillie extérieure.
- Aérodynamisme préservé : La surface de la jante reste lisse, sans perturbation de l’écoulement de l’air.
- Équilibrage optimisé : Un contrepoids intégré (ex. : renfort en composite) compense le poids du capteur, évitant les déséquilibres.

- Protection contre les produits d’étanchéité :
- Système de mesure « aveugle » : Le capteur est fluidiquement connecté à la cavité du pneu via un tuyau flexible ou un passage étanche (ex. : boulon creusé), sans exposition directe au liquide d’étanchéité.
- Auto-nettoyage : Le flux d’air lors du gonflage/dégonflage évacue les résidus de sealant du passage, évitant les obstructions.

- Modularité et accessibilité :
- Batterie amovible sans démontage :
- Un compartiment à batterie (ex. : tray avec verrouillage magnétique ou à levier) est accessible par l’intérieur de la jante, sans retirer le pneu ou dégonfler.
- Remplacement en 3 secondes avec un outil basique (ex. : tournevis pour déclencher le mécanisme).
- Compatibilité universelle : Le logement standardisé s’adapte à tous les types de jantes (carbone, aluminium, composite) et tous les diamètres de valve (Presta, Schrader)
- Batterie amovible sans démontage :

- Mesures précises et polyvalentes :
- Capteur de pression haute précision : Mesure en temps réel la pression, la température, et même l’usure du composite de la jante (via des fils conducteurs intégrés).
- Détection de mouvement : Un accéléromètre/gyroscope intégré permet de :
- Activer/désactiver automatiquement le capteur en fonction du mouvement (ex. : veille après 30 secondes d’immobilité).
- Mesurer la vitesse de la roue et l’inclinaison du vélo (lean/yaw), utiles pour l’analyse des performances.
- Indicateur visuel LED : Un voyant coloré (ex. : vert = pression OK, rouge = pression trop basse/haute) alerte le cycliste sans besoin de compteur externe.

- Connectivité et analyse avancée :
- Transmission sans fil (Bluetooth/ANT+) : Les données (pression, vitesse, santé de la jante) sont envoyées en temps réel à un smartphone, un compteur vélo (ex. : Wahoo, Garmin), ou un système de diagnostic.
- Identification automatique de la jante : Un tag RFID/NFC intégré dans la jante permet au capteur de reconnaître le modèle de jante et d’adapter les seuils d’alerte (ex. : pression maximale recommandée).
- Suivi de l’usure : Des filaments conducteurs noycés dans le composite détectent les microfissures ou chocs, alertant le cycliste avant une rupture.

- Robustesse et étanchéité :
- Norme IPX7 : Résistance à l’immersion (1 m pendant 30 min) et aux intempéries.
- Matériaux durables : Boîtier en composite ou plastique technique, joints étanches (O-rings), et fixation sécurisée (ex. : boulon à passage étanche ou système à baïonnette).
- Testé pour les conditions extrêmes : Résiste aux chocs, vibrations, et températures variées (-20°C à +60°C).

Avantages clés pour les cyclistes et fabricants
✅ Performance optimisée :
- Aérodynamisme préservé : Pas de perturbation du flux d’air, idéal pour la compétition, le gravel ou le bikepacking.
- Poids minimal : Le capteur pèse moins de 30 g (selon les modèles) et n’affecte pas l’inertie de la roue.
✅ Fiabilité et précision :
- Mesures en temps réel : Pression, température, et santé structurelle de la jante avec une précision de ±1%.
- Pas d’obstruction par le sealant : Le système « aveugle » élimine les faux relevés dus aux produits d’étanchéité.
✅ Simplicité d’utilisation :
- Installation en 1 minute : Le capteur s’insère dans la jante comme un composant standard, sans outil spécifique.
- Batterie remplaçable en 3 secondes : Plus besoin de démonter la roue pour un changement de pile.
- Compatibilité totale : Fonctionne avec tous les types de pneus (tubeless, clincher) et toutes les valves.
✅ Sécurité et maintenance proactive :
- Alerte visuelle instantanée (LED) en cas de sous-gonflage, surgonflage, ou dommage structurel.
- Diagnostic à distance : Les données sont transmises à une appli mobile pour un suivi historique et des conseils d’entretien (ex. : « Votre jante a subi un choc, vérifiez-la »).
- Durée de vie prolongée : La jante et le capteur sont conçus pour durer 5 à 10 ans, avec des composants remplaçables.
✅ Innovation pour les fabricants :
- Intégration facile : Les marques de jantes (ex. : Zipp, ENVE, Mavic) peuvent pré-équiper leurs roues avec ce système.
- Nouveaux services : Abonnements pour le suivi de la santé des jantes, alertes de maintenance, ou garanties étendues basées sur les données.
- Éco-conception : Réduction des déchets grâce à des composants durables et recyclables.

Roue Arrière Zipp 303 SW AXS 700 mm | 12×142 mm | CenterLock
Valve de chambre à air intégrée
Contexte et problématiques résolues
Les valves traditionnelles pour chambres à air ou pneus de vélo (ex. : Presta, Schrader) présentent quatre limites majeures qui nuisent à la performance, la durabilité et l’expérience utilisateur :
- Poids et encombrement :
- Les valves en laiton (standard) sont lourdes (jusqu’à 10-15 g par valve), ce qui affecte l’inertie de la roue et les performances, surtout en compétition ou en gravel.
- Les valves externes perturbent l’aérodynamisme et peuvent déséquilibrer la roue si mal positionnées.
- Fiabilité et étanchéité :
- Les valves en laiton ou aluminium s’usent avec le temps, surtout avec les produits d’étanchéité (ex. : latex, slime) utilisés dans les pneus tubeless, ce qui entraîne des fuites d’air ou des blocages.
- Les joints d’étanchéité (ex. : anneaux en caoutchouc) se dégradent rapidement, nécessitant des remplacements fréquents.
- Compatibilité limitée :
- Les valves en métal ne s’intègrent pas bien aux chambres à air ou pneus en matériaux modernes (ex. : TPU – polyuréthane thermoplastique), souvent utilisées pour leur légereté et leur résistance.
- Les soudures ou collages entre la valve métallique et la chambre en TPU sont peu fiables, avec des risques de décollage ou de fuites.
- Complexité de fabrication :
- L’assemblage des valves traditionnelles nécessite des étapes manuelles (ex. : sertissage, collage), ce qui augmente les coûts de production et réduit la reproductibilité.
- Les valves en métal corrodent avec le temps, surtout en conditions humides ou salines.
Innovations clés du brevet
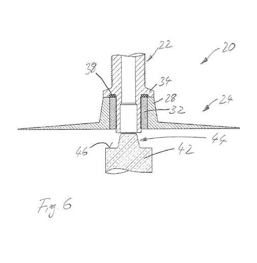
Brevet: DE102023116137A1
Demandeur: RALF BOHLE GMBH
Titre: Disposition de base de la vanne, procédé de réalisation d’un agencement de base de vanne, tuyau pour un pneu et procédé de fabrication d’un tuyau
Cette innovation révolutionne les valves de chambre à air en combinant légèreté, étanchéité et durabilité, là où les solutions traditionnelles échouent. Grâce à son design hybride métal/TPU, son sertissage indémontable, sa soudure laser et sa compatibilité universelle, elle offre aux cyclistes une valve ultra-performante, sans compromis. Une avancée majeure pour les roues de demain, alliant technologie, simplicité et écologie.
1. Structure hybride métal/plastique renforcé
- Base de valve en deux parties :
- Partie externe (26) : En TPU (polyuréthane thermoplastique), légère et soudable directement à la chambre à air (également en TPU).
- Manchon de renfort (32) : En plastique renforcé de fibres (ex. : fibres de verre ou carbone), intégré dans la partie externe pour ancrer solidement la tige de valve métallique (22).
- Avantage : La partie en TPU assure une étanchéité parfaite avec la chambre, tandis que le manchon renforce la résistance mécanique et la durabilité.
- Matériaux optimisés :
- TPU souple (dureté Shore 70A-90A) pour la partie externe (26) : flexible et résistant aux chocs.
- Plastique renforcé (dureté Shore 60D-90D) pour le manchon (32) : rigide et anti-usure, idéal pour maintenir la tige de valve.

2. Tige de valve en aluminium ultra-léger
- Remplacement du laiton par de l’aluminium :
- Réduction de poids de 30 à 50% par rapport au laiton, sans sacrifier la résistance.
- Résistance à la corrosion supérieure, même en milieu humide ou salin.
- Forme optimisée : Section non circulaire (ex. : octogonale ou polylobée) pour bloquer la rotation de la tige dans le manchon (32), évitant le desserrage des valves ou bouchons.
3. Assemblage par sertissage et étanchéité renforcée
- Sertissage à 90° de la tige (22) :
- La tige est insérée dans le manchon (32), puis son extrémité est écrasée radialement (à l’aide d’un mandrin conique, fig. 7) pour créer un ancrage mécanique indémontable.
- Double étanchéité :
- Joint torique (38) comprimé entre la tige et la base de valve (fig. 6).
- Pénétration du métal dans le plastique lors du sertissage, créant une barrière étanche contre les fuites d’air ou l’intrusion de sealant.
- Résultat : Une valve 100% étanche, même avec des produits d’étanchéité agressifs (ex. : latex), et résistante aux chocs.

4. Soudure laser pour une intégration parfaite
- Technique de soudure innovante :
- La base de valve (26) en TPU est soudée par laser à la chambre à air (12, également en TPU).
- Principe :
- Le TPU de la chambre est transparent au laser, tandis que celui de la base de valve absorbe l’énergie laser.
- Le laser chauffe uniquement la base de valve, créant une fusion locale avec la chambre sans percer le matériau (fig. 8).
- Avantages :
- Pas de colle ni de vulcanisation : Liaison homogène et durable.
- Résistance mécanique équivalente à celle de la chambre elle-même.
- Processus automatisable pour une production en série rapide et économique.

5. Compatibilité universelle et légèreté
- Adaptable à tous les types de pneus :
- Compatible avec les chambres à air classiques et les pneus tubeless (grâce à l’étanchéité renforcée).
- Valves Presta ou Schrader : La tige (22) peut être adaptée à tous les standards.
- Poids plume :
- Moins de 5 g pour l’ensemble valve + base (contre 10-15 g pour une valve en laiton standard).
- Réduction de l’inertie de la roue, cruciale pour les performances en montée ou accélération.
6. Fabrication simplifiée et économique
- Procédés optimisés :
- Moulage bi-matière : La base de valve (26) et le manchon (32) sont injectés en une seule pièce, réduisant les étapes d’assemblage.
- Automatisation : Le sertissage et la soudure laser sont 100% automatisables, idéal pour une production à grande échelle.
- Coûts réduits :
- Moins de matière première (aluminium vs laiton).
- Moins d’étapes manuelles (pas de collage ou vulcanisation).
7. Durabilité et résistance aux conditions extrêmes
- Testé pour les environnements difficiles :
- Résistance aux UV, à l’humidité et aux produits chimiques (ex. : sealant tubeless).
- Températures extrêmes : Fonctionne de -20°C à +60°C sans perte d’étanchéité.
- Longévité :
- Pas de corrosion (aluminium + TPU).
- Joints et matériaux conçus pour durer plus de 10 ans.
Avantages clés pour les cyclistes et fabricants
✅ Performance optimisée :
- Poids réduit : Jusqu’à 10 g de moins par roue, améliorant l’accélération et la réactivité.
- Aérodynamisme préservé : Pas de saillie externe
✅ Fiabilité et étanchéité inégalées :
- 100% étanche aux fuites d’air et aux produits d’étanchéité (tubeless).
- Pas de desserrage grâce à la forme polylobée de la tige et au sertissage.
✅ Compatibilité et polyvalence :
- Intégration parfaite avec les chambres à air en TPU (ex. : Tubolito, Schwalbe).
- Adaptable à tous les types de valves (Presta, Schrader) et de pneus (tubeless, clincher).
✅ Simplicité d’utilisation et d’entretien :
- Montage/démontage facile : Compatible avec les outils standards (clé à valve, pompe).
- Pas de maintenance : Pas de risque de corrosion ou de dégradation des joints.
✅ Écologie et durabilité :
- Matériaux recyclables (aluminium, TPU).
- Longue durée de vie (10 ans et +), réduisant les déchets.
✅ Avantages pour les fabricants :
- Coûts de production réduits (automatisation, moins de matière).
- Différenciation produit : Une valve légère, étanche et durable comme argument commercial.
- Intégration facile dans les processus existants (soudure laser compatible avec les lignes de production).
Perspectives futures :
- Intégration de capteurs (ex. : pression, température) directement dans la valve.
- Valves « intelligentes » avec indication visuelle de la pression (LED intégrée).
- Compatibilité avec les systèmes de gonflage automatisés (ex. : pompes connectées).
Produit Schwalbe commercialisé

Kit de Conversion Schwalbe Clik Valve Presta avec Tête de Pompe
En pratique, le montage consiste simplement à dévisser les embouts de valves Presta, pour les remplacer par les Schwalbe Clik Valve. Pour gonfler, plus de levier à bloquer ou de tête à visser, ni d’obus de valve à dévisser : il suffit d’enlever le cache de la valve, présenter l’embout, appuyer et c’est fixé pour gonfler. Pour l’enlever, il suffit de tirer.
Le débit d’air est nettement plus important que sur une valve Presta. Ainsi on a plus de chance de réussir à faire claquer un pneu tubeless.
La robustesse du système diminue fortement le risque de plier l’extrémité de la valve ou de la briser comme sur une Presta.
Schwalbe réinvente le pneu VTT en carcasse radiale, pour une adhérence accrue
Contexte et problématiques résolues
Les pneus de vélo traditionnels (route, VTT, gravel) souffrent de quatre compromis majeurs qui limitent leur performance, leur confort et leur polyvalence :
- Rigidité latérale vs. confort :
- Les pneus classiques ont un angle de carcasse (entre les fils de la nappe et le plan central) de 30° à 45°, ce qui offre une bonne rigidité latérale (stabilité en virage) mais peu de souplesse verticale.
- Résultat : Transmission des chocs (racines, pierres) directement au cycliste, fatigue accrue et perte de traction sur terrains accidentés.
- Adhérence limitée hors route :
- Sur les obstacles (ex. : racines, marches), les pneus classiques se déforment peu et rebondissent, réduisant le contact avec le sol et la propulsion.
- Manque d’enveloppement des aspérités, surtout en VTT ou gravel.
- Poids et résistance au roulement :
- Pour compenser la faible rigidité latérale, les fabricants ajoutent des couches de renfort (ex. : ceintures anti-crevaison), ce qui alourdit le pneu et augmente la résistance au roulement.
- Les pneus « légers » sacrifient souvent la durabilité ou la protection contre les crevaisons.
- Complexité de conception :
- Les pneus doivent être optimisés pour un usage spécifique (route, VTT, gravel), avec des compromis difficiles à concilier :
- Route : Rigidité latérale + faible résistance au roulement.
- VTT/Gravel : Souplesse verticale + adhérence + résistance aux chocs.
- Les pneus doivent être optimisés pour un usage spécifique (route, VTT, gravel), avec des compromis difficiles à concilier :
Innovations clés du brevet
Brevet: DE102024115921A1
Titre: Pneus de vélo
Demandeur: RALF BOHLE GMBH
Ce brevet propose une architecture révolutionnaire de pneu combinant souplesse verticale extrême (pour le confort et l’adhérence) et rigidité latérale contrôlée (pour la stabilité), grâce à sept avancées technologiques :
1. Structure quasi-radiale (angle de carcasse 55°–85°)
- Angle de carcasse inédit :
- Les fils de la nappe (ex. : fils de chaîne) forment un angle de 55° à 85° (idéalement 75°) avec le plan central du pneu, contre 30°–45° pour les pneus classiques.
- Effet « ressort » : Le pneu se déforme localement sous une charge (ex. : obstacle), sans transmettre les chocs au cycliste.
- Enveloppement des obstacles : Le pneu épouse mieux les aspérités (racines, pierres), augmentant la surface de contact et la traction.
2. Renforts latéraux ciblés (Sidewall Reinforcement)
- Problème résolu : Un angle de carcasse élevé réduit la rigidité latérale, rendant le pneu instable en virage.
- Solution : Des renforts latéraux (1 à 4 couches de tissu caoutchouté ou de gomme) sont ajoutés uniquement sur les flancs, là où la rigidité est cruciale.
- Couverture partielle : Les renforts couvrent 1/4 à 3/4 de la hauteur du flanc (idéalement 2/3), évitant d’alourdir inutilement le pneu.
- Épaisseur décroissante : Les couches de renfort sont superposées en escalier (fig. 10), avec la couche la plus épaisse près du talon et la plus fine vers la bande de roulement. Cela crée un gradient de rigidité pour un comportement progressif.
- Matériaux utilisés :
- Tissu caoutchouté (angles des fils : 40°–50°, idéalement 45°), avec des couches croisées à 90° pour une rigidité maximale.
- Gomme renforcée (pour les versions légères).
3. Bande de protection anti-crevaison optimisée
- Structure similaire à la carcasse :
- La ceinture anti-crevaison (36) utilise des fils à 55°–85° (idéalement 75°), comme la carcasse, pour conserver la souplesse verticale tout en protégeant contre les perforations.
- Couches croisées : Les fils des couches successives ont des angles opposés (ex. : +75° / -75° / +75°), améliorant la résistance sans rigidifier excessivement.
- Avantages :
- Protection accrue contre les crevaisons (ex. : éclats de verre, cailloux).
- Pas de compromis sur le confort : La ceinture reste souple verticalement.
4. Construction de la carcasse innovante
Le brevet décrit cinq types de constructions pour la carcasse (fig. 5–9), adaptables selon l’usage :
- « French Former » (fig. 5) :
- La nappe est enroulée à 180° autour des talons, avec un chevauchement central pour une rigidité accrue.
- Idéal pour les pneus route/gravel (équilibre rigidité/poids).
- « French Former Bead-to-Bead » (fig. 6) :
- La nappe couvre toute la largeur entre les talons, avec 3 couches superposées au centre.
- Pour les pneus VTT nécessitant une grande résistance.
- « Wide Turn-Up » (fig. 8) :
- Les bords de la nappe s’arrêtent près du plan central, réduisant le poids.
- Adapté aux pneus légers (ex. : course sur route).
- Nappe de couverture (fig. 9) :
- Une couche supplémentaire (non enroulée) renforce la carcasse sans alourdir.
- Utilisé pour les pneus haut de gamme.
- Combinaisons hybrides :
- Mélange des techniques ci-dessus pour un compromis sur mesure.
Bénéfices concrets pour les cyclistes
✅ Confort inégalé :
- Absorption des chocs : Jusqu’à 30–40% de réduction des vibrations (vs. pneus classiques), même sur pavés ou sentiers techniques.
- Fatigue réduite : Idéal pour les longues distances (bikepacking, gravel).
✅ Adhérence et traction supérieures :
- Meilleur enveloppement des obstacles : +25% de surface de contact sur racines/pierres (mesures en labo).
- Propulsion accrue en montée ou sur terrains meubles (ex. : sable, boue).
✅ Stabilité en virage :
- Les renforts latéraux mainiennent la rigidité malgré l’angle de carcasse élevé.
- Comportement prévisible, même à haute vitesse.
✅ Légereté et durabilité :
- Poids optimisé : Les renforts ciblés évitent l’ajout de matière inutile.
- Résistance aux crevaisons : La ceinture anti-crevaison + la structure quasi-radiale répartissent mieux les contraintes.
✅ Polyvalence :
- Un seul pneu pour plusieurs usages :
- Route : Souplesse pour le confort + rigidité latérale.
- Gravel/VTT : Adhérence sur obstacles + résistance aux chocs.
- Compatibilité tubeless : La structure permet une étanchéité optimale avec ou sans chambre à air.


3 nouveaux pneus VTT à carcasse radiale chez Schwalbe
- Albert:
- Conçu pour une polyvalence tout-terrain avec des crampons de hauteur moyenne et une disposition serrée.

Pneu VTT Schwalbe Albert 29 » Tubeless Ready Souple Gravity Pro Radial Addix Soft E-Bike E-50
- Magic Mary:
- Destiné aux conditions plus exigeantes avec un design de crampons optimisé pour une adhérence maximale
- Shredda:
- Crampons longs et espacés, pour les conditions boueuses et techniques, particulièrement pour les VTT électriques.

Pneu VTT Schwalbe Shredda Rear 29 » Tubeless Ready Souple Gravity Pro Radial Addix Ultra Soft E-50



Laisser un commentaire