Ce brevet, qui porte sur un dispositif de couplage pour une corde de remorquage, présente plusieurs innovations majeures qui répondent à des problématiques spécifiques rencontrées lors du remorquage de vélos, d’objets ou même de personnes. Voici une analyse détaillée des avantages et des applications potentielles de cette invention, particulièrement pertinente pour les cyclistes, les familles, les randonneurs et les situations d’urgence.
Contexte et Problématiques Résolues
Problèmes des systèmes existants :
- Remorquage saccadé : Les cordes de remorquage classiques (ex. : cordes élastiques ou systèmes auto-enrouleurs) ne permettent pas un démarrage en douceur, ce qui peut causer des à-coups désagréables ou dangereux, surtout pour les enfants ou les cyclistes débutants.
- Difficulté de détachement en cours de route : Les systèmes actuels nécessitent souvent un arrêt complet pour détacher la corde, ce qui est peu pratique en cas d’urgence ou de fatigue.
- Sécurité limitée : Les cordes fixes ou les systèmes auto-enrouleurs sous tension permanente peuvent casser ou déséquilibrer le vélo remorqué en cas de choc ou de mouvement brusque.
- Compatibilité restreinte : Les dispositifs existants sont souvent spécifiques à un type d’objet (ex. : seulement pour vélos) et ne s’adaptent pas à d’autres usages (ex. : traîneaux, luges, ou même personnes en ski ou kayak).
Innovations Clés du Brevet
Demandeur: KOMMIT OUTDOOR GMBH
Brevet: DE202024103196U1
TItre: Dispositif de couplage pour une corde à tirer
a. Structure Modulaire et Polyvalente
Le dispositif se compose de trois sections principales :
- Section de couplage :
- Conçue pour fixer la corde de remorquage (ex. : via une boucle ou un mousqueton).
- Compatibilité universelle : Peut s’adapter à différents objets (vélos, traîneaux, luges) ou même à des personnes (ex. : skieurs, kayakistes, joggeurs) grâce à des harnais adaptés.

- Section de fixation :
- Permet une fixation rapide et sécurisée sur le guidon, le cadre, ou tout autre point d’ancrage.
- Deux options de fixation :
- 1-point (ex. : une boucle unique pour une fixation rapide).
- 2-points (ex. : deux boucles pour une meilleure répartition des forces et une stabilité accrue).

- Section de transmission de force :
- Élastique et extensible : Peut s’étirer jusqu’à 6 fois sa longueur initiale, absorbant les chocs et permettant un démarrage progressif.
- Forme en « V » : Répartit la force de traction sur deux points d’ancrage, améliorant la stabilité et réduisant les risques de déséquilibre.
- Bridage latéral : Un pont (Steg) relie les deux branches du « V », empêchant tout glissement latéral et assurant un maintien solide.

b. Sécurité et Confort Améliorés
- Absorption des chocs :
- La section élastique atténue les à-coups, rendant le remorquage plus fluide et confortable, surtout sur des terrains irréguliers (ex. : chemins de gravel, sentiers de VTT).
- Idéal pour les enfants : Évite les secousses brutales qui pourraient les déséquilibrer ou les effrayer.
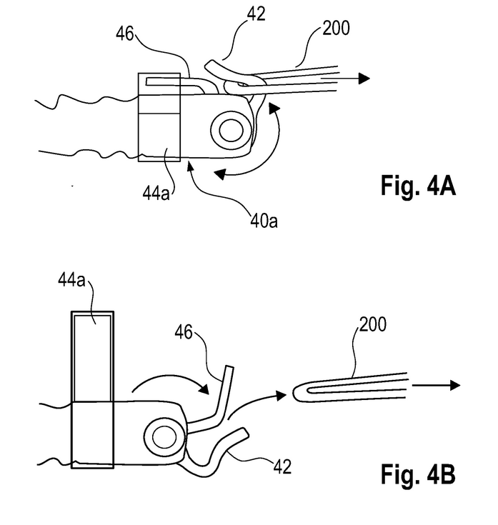
- Mécanismes de Détachement d’Urgence :
- Automatique :
- En cas de traction excessive (ex. : chute, obstacle), un mécanisme de sécurité libère automatiquement la corde, évitant les accidents.
- Réglable : Le seuil de déclenchement peut être ajusté en fonction du poids de l’objet ou de la personne remorquée.
- Manuel :
- Permet un détachement instantané en tirant sur un câble ou un levier, sans avoir à arrêter le vélo.
- Pratique en cas de fatigue ou si le cycliste remorqué veut s’arrêter brusquement.
- Automatique :
- Compatibilité avec les Systèmes Auto-Enrouleurs :
- Peut être utilisé avec des cordes auto-enrouleuses, combinant les avantages des deux technologies :
- Tension constante (pas de corde qui traîne par terre).
- Démarrage en douceur (grâce à l’élasticité du dispositif).
- Peut être utilisé avec des cordes auto-enrouleuses, combinant les avantages des deux technologies :

c. Applications Pratiques
- Pour les Familles et les Enfants :
- Remorquage sécurisé : Permet aux parents de tirer leurs enfants sans risque de chute ou de secousses.
- Apprentissage du vélo : Idéal pour les jeunes cyclistes qui peinent à suivre sur de longues distances ou en montée.
- En Cas de Panne ou d’Urgence :
- Dépannage rapide : Un cycliste en difficulté (crevaison, fatigue) peut être remorqué sans avoir à démonter sa roue.
- Compatibilité avec les VAE : Peut être utilisé pour remorquer un vélo à assistance électrique en panne de batterie.
- Pour les Sports d’Hiver ou d’Eau :
- Ski de randonnée : Permet de tirer un skieur fatigué ou un enfant en montée.
- Kayak ou Paddle : Peut être fixé à un gilet pour remorquer un kayakiste ou un nageur.
- Pour les Randonnées et le Bikepacking :
- Transport de matériel : Permet de tirer une remorque légère ou un traîneau sans déséquilibrer le vélo.
- Polyvalence : Compatible avec différents types de vélos (VTT, gravel, route).
Design et innovation award 2025

Le Bike Bungee assure une conduite douce et sans secousse grâce à sa partie élastique, et le support de vélo – développé avec SP-Connect – peut être installé sur des vélos sans boulons de tige.
Avantages par Rapport aux Solutions Existantes
| Critère | Systèmes Classiques | Dispositif Breveté |
|---|---|---|
| Démarrage | Saccadé, risque d’à-coups | Progressif et fluide grâce à l’élasticité |
| Détachement | Nécessite un arrêt complet | Possible en roulant (manuel ou automatique) |
| Sécurité | Risque de casse ou déséquilibre | Mécanismes de sécurité intégrés (détachement automatique en cas de choc) |
| Polyvalence | Spécifique à un usage (ex. : seulement vélos) | Adaptable à vélos, traîneaux, personnes, etc. |
| Stabilité | Déséquilibre possible (1 point de fixation) | Répartition des forces sur 2 points + bridage latéral |
| Compatibilité | Limité aux systèmes fixes ou auto-enrouleurs | Compatible avec cordes élastiques, auto-enrouleuses, ou fixes |
| Confort | Peu ergonomique, vibrations | Absorption des chocs, réduction des secousses |
Potentiel pour les Cyclistes et les Aventuriers
a. Pour les Parents et les Familles
- Sorties en toute sécurité : Permet aux enfants de suivre sans effort sur de longues distances ou en montée.
- Apprentissage sans stress : Les jeunes cyclistes peuvent s’entraîner à pédaler tout en étant sécurisés par la corde élastique.
b. Pour les Randonneurs et Bikepackers
- Dépannage entre amis : Un cycliste fatigué ou en panne peut être remorqué sans ralentir le groupe.
- Transport de matériel : Idéal pour tirer une remorque légère ou un sac étanche en cas de besoin.
c. Pour les Sports d’Aventure
- Ski de randonnée : Permet de tirer un partenaire en montée sans effort excessif.
- Kayak ou canoë : Peut servir à remorquer un embarcation légère ou un nageur.
Conclusion : Une Innovation Majeure pour le Cyclisme et Au-Delà
Ce brevet représente une avancée significative dans le domaine du remorquage, en combinant :
- Sécurité (mécanismes de détachement automatique et manuel).
- Confort (absorption des chocs, démarrage progressif).
- Polyvalence (compatibilité avec vélos, traîneaux, personnes, etc.).
- Simplicité d’utilisation (fixation rapide, détachement instantané).
Il répond à un besoin croissant des cyclistes, des familles et des aventuriers pour des solutions fiables, légères et adaptables, tout en ouvrant la voie à de nouvelles applications dans les sports outdoor.

Laisser un commentaire